Keywords
Architecture
General Terms
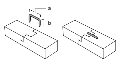
A cleat. A strip of metal or wood driven into two members to hold them together securely. A metal cleat that is bent at each end has sharp points. Each end of the cleat is pounded into one part of the two members to be joined. The bent parts, that function like nails, are called tsume爪 and the center is called watari 渡り meaning cross over.

a) watari 渡り b) tsume 爪